
概述 YMJ型椰肉研磨机,是根据椰肉所持有的特点,研制的一种专用磨碎机,适用于椰子汁加工工艺中椰肉的粉碎;该机与椰肉接触部分全部由304不锈钢制作,符合食品卫生。 产品型号

微信扫一扫
概述
YMJ型椰肉研磨机,是根据椰肉所持有的特点,研制的一种专用磨碎机,适用于椰子汁加工工艺中椰肉的粉碎;该机与椰肉接触部分全部由304不锈钢制作,符合食品卫生。
产品型号

结构特征与工作原理
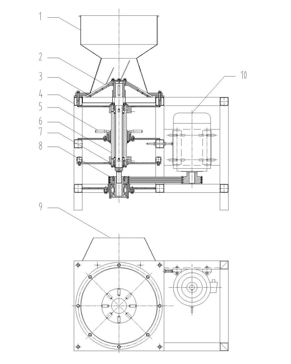
4.1结构:参照图4-1椰肉磨浆机结构原理图,该机主要由机架、进出料斗、齿刀、刀盘、轴承机构、传动机构、电机等组成。
4.2工作原理:工作时电机经一对V带轮、通过轴承架、轴承机构高速驱动刀盘高速旋转,刀盘上装有若干把齿刀片,齿刀由耐磨高硬度合金制造。椰肉自由落入进料斗,被高速旋转的齿刀磨碎,磨碎后的物料由刀盘和刀盘盖之间的间隙落入出料斗。实现磨碎功能。整体转子总成制作有升降调节机构,可以调整刀盘与刀盘盖之间的间隙,从而调整椰肉的磨细粒度。

图4-2,椰肉研磨机结构原理图
1、进料斗;2、齿刀片;3、刀盘;4、机架;5、转子升降机构;6、轴承架;7、轴承;8、皮带传动机构;9、出料斗;10、电机
安装、调整、操作与维护
4.1 机器必须安装水平,并用地脚螺钉固定。
4.2操作:当设备启动时,应调整好齿盘和齿刀盖之间的间隙。
4.3进料必须均匀,严禁硬质异物进入料斗,以免损坏筛网。
4.4维护: 班中停车或换季闲置时,应对设备进行茄子短视频,保持内外洁净;
4.5定期对各润滑点加润滑油、脂。
|
设备型号 |
产量 |
功率 |
外形尺寸 |
|
YMJ-1 |
1T |
4KW |
900×600×1200 |
|
TMJ-1.5 |
1.5T |
7.5KW |
1240×930×1800 |